Slide
Slide
Slide
Slide
Slide
Home | Toggle Clamps | Manual Toggle Clamps | Vertical Toggle Clamps | Front Mounted, Solid Arm

Front Mounted, Solid Arm

  • Range:Toggle Clamps
  • Category:Manual Toggle Clamps
  • Group:Vertical Toggle Clamps
  • Style:Front Mounted, Solid Arm
Search on complete or part product code
Select product to view cad download options
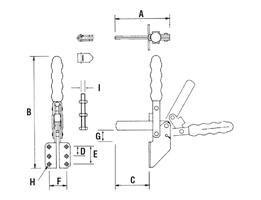
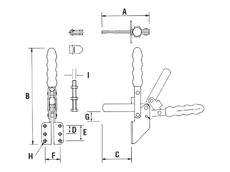
Front Mounted, Solid Arm
Front Mounted, Solid Arm
DrawingsPDFCAD Download
Part No. A B C D E F G H I Holding Force Weight  
V300/3A 143 235 93 19 35 35 31 6.8 M8x60 300daN 0.50Kg CAD / BUY

Brauer's Latest Tweets
  • Loading Tweets...
new user? click here
(forgotten password)
Slide 1 Slide 2 Slide 3 Slide 4 Slide 5
X