Tel: +44 (0)1908 374 022
Liquid Drum Pump
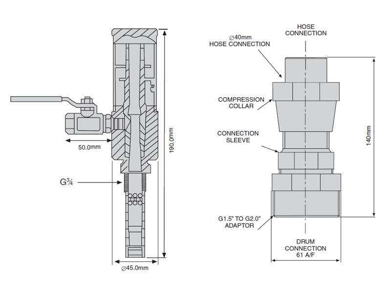
The Brauer Drum Pump is designed to pick up liquid spills in the workshop. The system utilises the standard 205 litre drum including the two holes which are standard in the drum lid. Tests have shown that the Brauer Drum Pump can transfer 125 litres of machine coolant in 65 seconds. The Brauer Drum Pump comes with a number of useful tools which allow the transfer of liquids and solids with ease, from difficult areas. |
Country: change
United Kingdom




