Slide
Slide
Slide
Slide
Slide
Home | Standard Parts | Spring Plungers | Hexagon Socket and Ball | Long-Lok Secured

Long-Lok Secured

  • Range:Standard Parts
  • Category:Spring Plungers
  • Group:Hexagon Socket and Ball
  • Style:Long-Lok Secured
Search on complete or part product code
Long-Lok Secured
Long-Lok Secured
DrawingsPDF
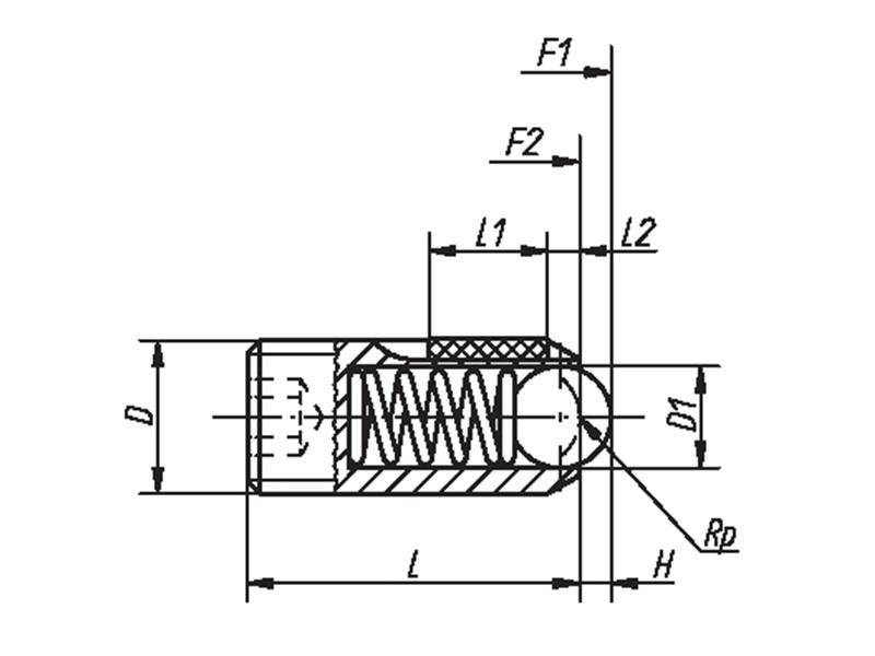
Part No. D D1 L L1 H S F1 F2 Weight  
K51600106 M6 3.5 15 7 1 3 9 13 2
K51600108 M8 4.5 18 8 1.5 4 15 30 4
K51600110 M10 6 23 9 2 5 20 35 8
K51600112 M12 8 26 10 2.5 6 30 55 12
K51600116 M16 10 33 14 3.5 8 65 125 31

Brauer's Latest Tweets
  • Loading Tweets...
new user? click here
(forgotten password)
Slide 1 Slide 2 Slide 3 Slide 4 Slide 5
X